

IMPORTANT : pendant toute l’opération de dépose-repose du réservoir, ne pas fumer et ne pas approcher de pièces incandescentes près de l’aire de travail.
VIDANGE DU RESERVOIR (version Essence
Déposer l’obturateur acier d’accès à l’ensemble pompe-jauge.
Retirer le clip d’emmanchement (si équipé).
Débrancher le raccord rapide (1), Mot. 1265.

Adapter sur la sortie (A), une canalisation d’une longueur suffisante pour qu’elle puisse être plongée dans un récipient à l’extérieur du véhicule.
NOTA : il est possible aussi d’utiliser une pompe pneumatique de transvasement INTAIRCO (voir catalogue MATERIEL).
Dans le compartiment moteur, débrancher le relais de pompe à carburant (K) placé dans le boîtier d’interconnexion moteur.

Shunter les voies 3 et 5 et laisser s’écouler l’essence jusqu’à ce qu’elle arrive par intermittence.
Débrancher le shunt.
Rebrancher le relais.
Débrancher la batterie.

VIDANGE DU RESERVOIR (version Diesel)
L’absence de pompe électrique à carburant sur les versions Diesel, oblige à utiliser une pompe pour vidanger le réservoir.
Utilisation par exemple de la pompe pneumatique INTAIRCO (voir catalogue MATERIEL),

Déposer l’obturateur acier d’accès à l’ensemble pompe-jauge.
Retirer le clip d’emmanchement (si équipé).
Débancher le raccord rapide (1), Mot. 1265.
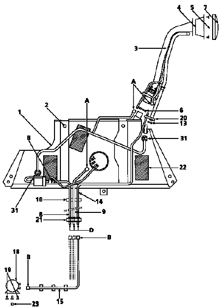
DEPOSE DU RESERVOIR (version Essence ou Diesel)
Débrancher la batterie.
Véhicule sur un pont deux colonnes.
Débrancher le connecteur électrique (2) et les raccords rapides, Mot. 1265 ou Mot. 1265-01.

Lever le véhicule.
Désolidariser le tube d’échappement de la descente d’échappement.
Déposer la patte de fixation de l’échappement au milieu du véhicule.
Débrancher le filtre à essence.
Déposer l’écran thermique (3) et (4) situé sous le réservoir et sous les câbles de frein à main.
Déposer la patte (5) de maintien de l’échappement.

Basculer l’échappement vers le côté droit du véhicule.
Mesurer la cote X avant de dérégler le dispositif de réglage du frein à main.

Dérégler le dispositif de façon à dégager les câbles gauche et droit (dégager avec précaution l’arrêtoir plastique du câble (6)).
Débrancher les deux raccords (7) et (8) (utiliser l’outil Mot. 1265).
Débrancher le tuyau (9).
Désolidariser le réservoir de la goulotte de remplissage (10).
Déclipser sous le réservoir les câbles de frein à main (11).

Dégrafer, sur le côté du réservoir, les tuyaux hydrauliques de freinage.
Dégrafer, sur les réservoir, les tuyaux d’essence.
Mettre en place le vérin d’organes sous le réservoir.
Déposer les quatre vis fixant le réservoir.
Basculer légèrement le réservoir vers l’avant, puis le déposer.
REPOSE
Procéder en sens inverse de la dépose.
Prendre soin de ne pas pincer les tuyaux (risque de fuite).
Monter les raccords rapides à la main et s’assurer du bon encliquetage des raccords rapides.
Prendre soi
Version essence 1ère génération

Réservoir essence 1ère génération

Version essence 2ème génération

Réservoir essence 2ème génération

Version diesel

Réservoir diesel

La mise à l’air libre du réservoir se fait par la tête de l’ensemble aspiration carburant / jauge à carburant.
Nomenclature
A Raccord rapide
B Raccord encliquetable
C Raccord rapide
D Embout non encliquetable
E Orifice d’évacutation de l’air durant le remplissage
F Volume d’air permettant au carburant de se dilater
R Orifice de remplissage de carburant
V Volume d’essence maximum admissible
ROLE DES CLAPETS
28 Clapet d’interdiction de sur-remplissage
Lorsque le bouchon du réservoir est enlevé, le clapet est fermé, emprisonnant ainsi un volume d’air dans le volume de mise à l’air libre. Ceci empêche la montée de carburant dans ce volume.
A la remise en place du bouchon, le clapet s’ouvre, autorisant la mise à l’air libre du réservoir vers le canister.
29 Clapet de sécurité surpression-dépression
En cas d’obturation du circuit de recyclage des vapeurs d’essence, ce clapet évite que le réservoir ne se mette en surpression (le réservoir gonfle) ou en dépression (par consommation du carburant, le réservoir s’écrase).
30 Clapet de restriction
Ce clapet interdit l’introduction d’essence plombée dans le réservoir.
31 Clapet anti-fuite au retournement du véhicule
En cas de retournement du véhicule, ce clapet évite que le réservoir ne se vide, soit par le conduit allant au canister, soit par le conduit de mise à l’air libre (Diesel).
32 Clapet d’interdiction de sur-remplissage et
clapet anti-fuite au retournement du véhicule Le clapet d’interdiction de sur-remplissage fonctionne grâce à la bille (33).
Véhicule au repos, lors du remplissage, la bille est en appui sur son siège, emprisonnant ainsi un volume d’air dans le réservoir.
Véhicule en mouvement, la bille (33) quitte son siège, permettant ainsi de mettre en liaison le réservoir et le canister.
Il est impératif, réservoir plein, qu’un volume d’air demeure dans le réservoir pour permettre à l’essence contenue dans celui-ci de se dilater, sans pour autant faire exploser le réservoir.
Le clapet anti-fuite au retournement fonctionne comme le clapet (31).
Le réservoir possède un bouchon du type étanche.
La goulotte de remplissage pour carburant sans plomb possède :

La mise en place du bouchon libère le clapet d’interdiction de sur-remplissage (A) permettant la mise à l’air libre du réservoir (uniquement présent sur version essence première génération).
Réservoir
JaugeVitre latérale fixe ou mobile
DEPOSE
VITRE FIXE
Déclipser l’enjoliveur extérieur (1).
Déchausser le joint intérieur (2).
VITRE MOBILE
Déclipser l’enjoliveur extérieur (3).
Dégrafer l’enjoliveur (4).
Découper le cordon de mastic colle.
REPOSE
Chausser ou c ...
Réaspiration des vapeurs d’essence
Moteur D7F
SCHEMA FONCTIONNEL DU CIRCUIT
Collecteur d’admission
Absorbeur des vapeurs d’essence (canister)
Electrovanne à commande RCO
Culasse
R Canalisation venant du réservoir
Moteur E7J
SCHEMA FONCTIONNEL DU CIRCUIT
Collecteur d’admission
...
Traverse centrale de pavillon
INTRODUCTION
Le remplacement de cette pièce est une opération complémentaire
au pavillon.
Dans l’opération décrite, ci-après, vous ne trouverez que les descriptions des
liaisons spécifiques à la pièce concernée.
Les informa ...